Categories: 作者忘記分類

Apple研發iPod Shuffle/Nano薄片式擴音器?

Published by
藍骨

Apple的產品開發過程雖然不會公開,但在他們所公佈的專利申請中,總能夠看到一些端倪,例如今次介紹的iPod Shuffle/Nano 夾子擴音器就是一例。

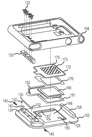
在這個2010年提交的專利中,是一個能整合在iPod Shuffle/Nano的夾子上的擴音器,利用薄片式的擴音器放在鋁製夾子之中,再振動中間的空氣來達到擴音效果。這樣的一個小型擴音器,也不能期待有什麼好的音質,但播放一些簡單的音效當然無問題。到頭來Apple會否真的採用這個設計,就要Apple才曉得了。

來源:Patently Apple

Published by
藍骨