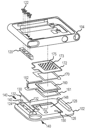
作者忘記分類 Apple研發iPod Shuffle/Nano薄片式擴音器? 作者 藍骨 發佈日期 2011-11-12 閱讀時間 1分鐘 字體大小 A A A 分享 Apple的產品開發過程雖然不會公開,但在他們所公佈的專利申請中,總能夠看到一些端倪,例如今次介紹的iPod Shuffle/Nano 夾子擴音器就是一例。 在這個2010年提交的專利中,是一個能整合在iPod Shuffle/Nano的夾子上的擴音器,利用薄片式的擴音器放在鋁製夾子之中,再振動中間的空氣來達到擴音效果。這樣的一個小型擴音器,也不能期待有什麼好的音質,但播放一些簡單的音效當然無問題。到頭來Apple會否真的採用這個設計,就要Apple才曉得了。 來源:Patently Apple 分享到 : 最新影片 Follow 我們 : 650k粉絲Facebook143k訂閱YouTube51k跟隨者Instagram3.7k粉絲X (formerly Twitter)6.6kPostsTelegram Subscribe Login Notify of new follow-up comments new replies to my comments Please login to comment 1 Comment Oldest Newest Most Voted Inline Feedbacks View all comments catgod 14 years ago Apple wants to put Siri into Nano.
Apple wants to put Siri into Nano.