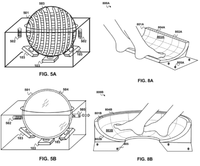
最近 Sony 提交專利,其中一項是為 AR、VR 遊戲而設,特別的是該裝置將是用腳控制。專利是用腳來控制一或兩顆球,有點類似滑鼠滾輪移動設計,另一項是有鄰近感測功能的面板,感覺更為複雜,料會增加玩家沉浸代入感。

▲腳操縱的控制器可有望打破空間大小限制
球體的控制器的外殼有二到三個軸,用家可用腳控制,其中編碼器將會運算球體的旋轉運動。另一項控制板則是採碗狀的造型,是平面觸控板,而彎曲的地方也有可能能夠觸控使用。兩個專利兩隻腳都可以操控。
兩種控制器均有 CPU、記憶體、A/D、D/A 轉換器等,可計算玩家的動作和距離。用腳操縱的控制器可有望打破空間大小限制,能在較小空間內使用。
資料及圖片來源:Tom’s Hardware
分享到 :
最新影片