很多時一款新車推出,香港都無法跟歐洲或北美市場同步上市,原因之一是香港為右軚市場,車廠一般都會先生產市場較大的左軚車款。瑞典車廠 Volvo 最近就想到利用線控技術,讓軚盤能夠在軌道上滑動,汽車就能夠任意更換為左軚或右軚。
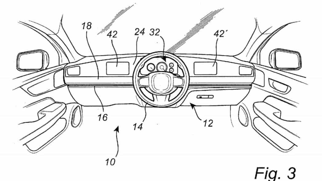
Volvo 早前將技術申請專利,並且在 9 月時公開,根據文件中的描述,儀錶板會隨著軚盤在軌道上移動,除了將之移動到左或右邊,甚至可以將駕駛席設在中間位置。Volvo 這項技術除了方便廠方生產,可以通用於所有市場的車款,未來當自動駕駛技術更加成熟,司機將汽車調校至自動駕駛模式後,就可以把軚盤暫時移開,騰出更多空間做別的事情。
為了配合這個設計,其他配套例如油門和煞車等,都需要重新設計。Volvo 解釋指可以壓力感應、液壓或氣動感應器,甚至其他全新設計的東西,取代原來的實體腳踏。無論如何,新的腳踏系統都會根據軚盤的移動,自動調整至合適位置。
來源:autoblog
分享到 :
最新影片


