
早幾日前網上曾傳出 Apple 計劃推出 5.8 吋 OLED 螢幕的 iPhone,比起目前 iPhone 6s Plus 的 5.5 吋還要大,不過一味只是將螢幕加大就似乎欠缺新意,所以來自 DisplayMate 的分析師 Ray Soneira 最近就提出自己的見解,並認為該款 5.8 吋 iPhone 的螢幕或會包住機身兩側,如此將可以帶來更多新的操作方式。

將螢幕擴展至機身兩側,其實近年 Samsung 已經採用過類似的設計,比如 Galaxy S7 edge 的雙曲面螢幕便是其中之一,螢幕兩側會向下彎曲,而上面則設有各種快捷鍵及工具欄。不過 Soneira 認為 Apple 本身有自己的一套風格,所以即使新 iPhone 將會用上可彎曲的螢幕,應該亦不會採用類似 Galaxy S7 edge 的曲面設計,反而會以另一種方式呈現出來。

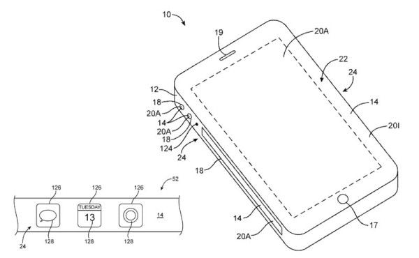
至於 Soneira 之所以會有這種推測,主要是建基於 Apple 之前曾取得過的兩項專利,其中一項專利可以看到螢幕將會由機面伸延至機身的左右兩側,而兩者則會成 90 度角,不像 Samsung 的雙曲面螢幕會微微斜向彎曲,而上面則會設有虛擬按鍵,可用來調節音量、拍照或顯示各種資訊等。與此同時,另一項專利則顯示出 iPhone 多項包圍式螢幕的設計,當中甚至更出現了一款圓柱形,暗示 OLED 螢幕的設計將可以從不同方向發展。最後資料同時還提到即使將來 Apple 真的推出 5.8 吋 OLED 螢幕 iPhone,但若然將機身兩側的曲面螢幕都計算起來,其實際大細可能會與 iPhone 6s Plus 分別不大。

來源:MacRumors
分享到 :
最新影片