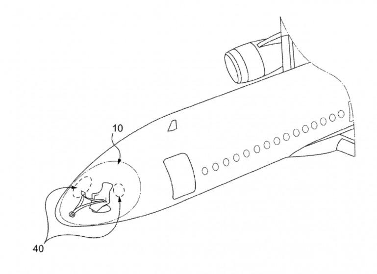
設在飛機機頭的駕駛艙,它的擋風玻璃窗為機師提供在駕駛和升降時所需的視野。這設計對工程師來說其實是一大缺點,窗戶是飛機機身脆弱的部份,需要額外加固,於是重量因此增加。將駕駛艙設置在機頭亦減少了乘客艙空間和載客量。不過這設計可能會在未來有所改變。
空中巴士公司早前在美國申請專利註冊,新技術讓機師在一個幾乎密閉的無窗空間駕駛。空中巴士公司的未來駕駛艙會由大型投射螢幕、雷射、全息圖和 OLED 影像系統,配合機身外的相機組成。機師將會擁有比以前更廣闊的視野,更多的資訊可以即時顯示在螢幕,方便機師飛行。另一方面,以螢幕取代窗戶可以減重,藉此減低耗油量;飛機設計將會更具彈性,少了脆弱部分,飛機亦會更安全。

沒有窗的飛機和只靠螢幕飛行的駕駛艙,無論技術還是大眾接受程度都要多等一段時間,短期內應該無法實現。
來源:gizmag
分享到 :
最新影片