Nokia 早於兩年前也有彎曲手機的原型機展示,但一直只是聞樓梯響。Samsung 及 LG 也於月前推出彎曲式屏幕手機,LG 的 G Flex 更是連電池也是彎曲設計,變成了真正的彎曲手機。日前 Nokia 一項可摺式電池專利曝光,相信 Nokia 也要為未來的彎曲屏幕手機作出準備。
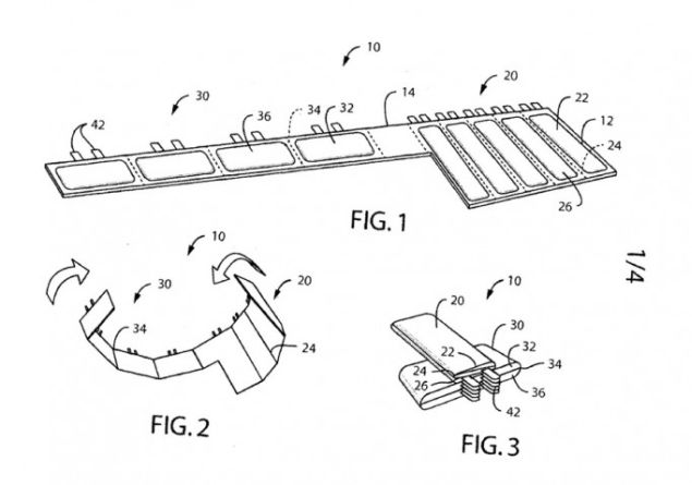
Nokia 的最新專利就如上圖一樣,電池分成多個細小部分,令電池彎曲設計,並可以摺起來使用。有了可摺式電池,手機的設計可以更加有彈性,兩年前 Nokia 便展示過彎曲屏幕手機,相信 Nokia 也會將此可摺式電池技術融入,日後推出真正柔性或彎曲屏幕手機。不過彎曲手機設計相信只是起步,相信沒有太多用家在意手機是否彎曲設計,反而智能手錶的需求更大,令佩戴更為方便。早前 Microsoft 也表示會推出智能手錶產品,相信 Nokia 也正在為此而努力吧!
來源:phonereview
分享到 :
最新影片