近數年相機走向無反設計,令一般機仔大小的相機也有著 DSLR 般的質素。其中 Sony 在無反領域上十分積極,並不斷改良突破傳統的相機框框,而大家期待的 NEX-FF 便是其一。Sony 未來的相機還會有什麼新的設計?大家看看其最新的專利便大概略知一二。
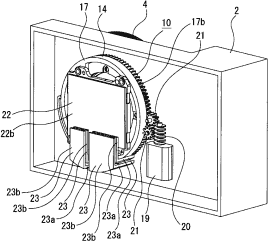
Sony 日前公開的兩項新的相機專利就是可轉動感光元件及 LCD 屏幕,大家看看上圖相信也會明白得到,相片不再需要人手轉動也可以有直度甚至乎 45 度角拍攝能力,在腳架上平放拍攝時也可以更為穩陣,另一好處是拍片時畫面轉動會更順暢?暫時仍未得知感光元件有此設計的真正用途,可能是要減低邊角失光或暗角情況,而 45 度角時 1:1 相片的大小可以多出一點點。不知道即將推出的 NEX 相機會否有此兩項新設計呢?
分享到 :
最新影片
