運算裝置不斷縮小,手機及平板已是一個好例子,未來將會進一步微縮化,預計智能手錶將會是各廠商的下一波目標。裝置間主要的溝通方式大多是利用無線技術達成,如 Wi-Fi 或 Bluetooth 等,不過 Microsoft 將會應用人體來傳送資料,近日更得到相關的專利技術。
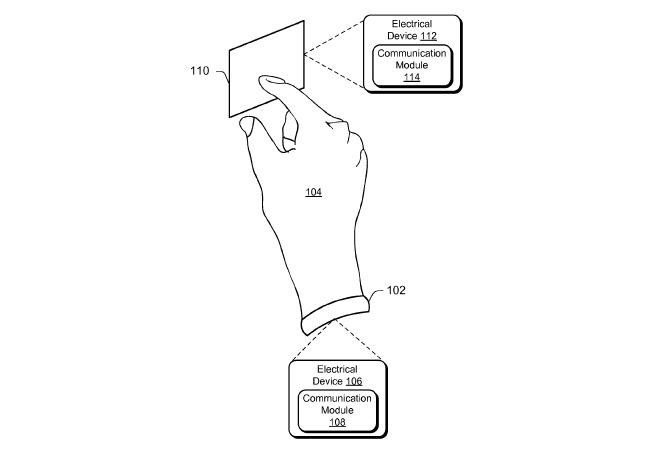
Microsoft 的新專利能夠利用人體去傳送資料,在兩件電子裝置之間搭出一條橋樑。例如右手配戴了智能手錶左手持著智能手機,兩者可以透過人體互傳資料,不再需要任何無線或有線技術。雖然相關理論早就出現,但大多只是概念性質,想法天馬行空,而 Microsoft 就將此概念真正實現。不過要將此技術應用到不同裝置上仍有一段長時間,但可以想像到未來此技術將能夠廣泛應用。不知道到時候大家手拖手是否就能交換電話或相片呢?
分享到 :
最新影片
