Categories: 作者忘記分類

強大處理能力需要額外降溫!未來 iPhone、iPad 將會內置散熱風扇設計?

Published by
海藍牛

手機及平板的運算能力愈來愈強大,但熱量就有增無減。有網站就發現 Apple 早前申請了一項在流動裝置上的散熱風扇專利,可能會用於日後的 iPhone 或 iPad 上。

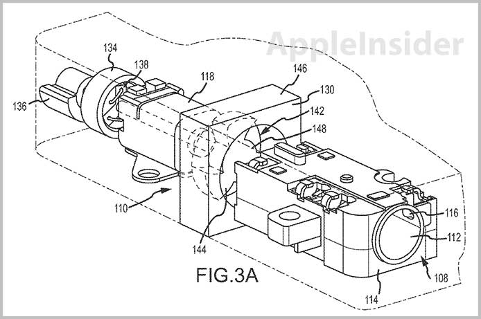
這項 “Cooling system for mobile electronic devices” 的專利主要是將裝置內外的空氣互換,將熱量不斷帶走。其設計將摩打、風扇及感動器元件整合,節省更多空間,可以放到 iPhone 上使用。雖然未知會是什麼流動產品用上散熱風扇,但可以見到 Apple 在未來的裝置上用上更強大的處理器同時,未能有效解決散熱問題。早前就有網站比較過 iPad 2 及第三代 iPad 外殼的運作溫度,在相同的背面 iPad 2 只是 31 度,而新 iPad 達到 36.9 至 40.2 度,效能提升的同時亦令熱量增加。不過用上風扇設計,不知道會否因此而「食塵」呢?

來源:appleinsider

Published by
海藍牛