Categories: 作者忘記分類

咁都有得告?Smart Cover涉嫌侵權

Published by
海藍牛

樹大招風惹來官司對於Apple來說見怪不怪,但近日就被美國一名普通市民Jerald Bovino控告,指Smart Cover侵犯了其”Portable Computer Case”專利。

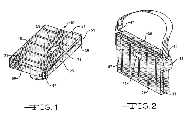
Portable Computer Case早於2003年在美國作專利註冊,並於2005年獲得當局批准,比起Smart Cover的推出時間早六年。此專利能夠令流動電腦利用保護套方式作保護,並可以隨身攜帶,還有背帶設計等!Smart Cover就提供相類似功能,只是沒有背帶,而Apple就Smart Cover設計早已申請專利,同樣獲得批准。

Smart Cover是為iPad 2而設的保護套,提供底面保護功能還加入了磁石設計與iPad結合,並可以令iPad站立起來,突破了以往皮套、膠套及保護套等思維。而Bovino的Portable Computer Case的實物是怎樣還未清楚,小編就不熟悉美國法律,但以其專利註冊時的圖片看來,實在看不出有什麼抄襲之處。究竟Bovino所指的侵權是指那一方面呢?如果真的告得入市場上其他同類的電腦袋是否也受牽連呢?

 

來源:CNET

Published by
海藍牛