Categories: 作者忘記分類

Apple氣泵鍵盤設計專利曝光

Published by
藍骨

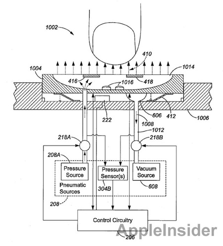
如果你做的是常要輸入文字的工作,或者認真的電腦遊戲玩家,對於鍵盤的手感應該會有一定的要求。而Apple最近就有一份專利曝光,是有關鍵盤的設計,當中提及到用氣壓去達成更佳的回彈力。

在專利的介紹中提到,由於現在的鍵盤設計越來越薄和細少,讓鍵帽和鍵盤之間的空間縮小,回彈力因此受影響。這個設計,會利用鍵帽下的距離感應器,控制內置的氣泵向鍵帽加壓,達到更佳的回彈力效果,在讓鍵盤更薄之餘也不需犧牲手感。當然,專利申請後可能要等10年才會見到相關產品,但Apple如果想要「重新發明」鍵盤的話,總算是有點值得期待的賣點。

來源:Macstories

Published by
藍骨