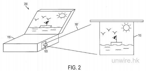
Apple對於投影機的興趣,其實一直都有。最近,又有一份新的專利申請曝光,那是有關新型投影技術的專利。在專利中,主要是提到這改善了的投影技術,將會是激光與LED光源混合,除了能夠利用激光投影技術省電和低成本的優點,也解決了激光投影技術的光點問題。更重要的是,專利中提及在電腦上加入投影裝置,就如上圖一樣。不過要何時才能看到這實際出現在Apple產品之上,就真的要問Steve Jobs才知道了。
來源:USPTO
分享到 :
最新影片
Apple對於投影機的興趣,其實一直都有。最近,又有一份新的專利申請曝光,那是有關新型投影技術的專利。在專利中,主要是提到這改善了的投影技術,將會是激光與LED光源混合,除了能夠利用激光投影技術省電和低成本的優點,也解決了激光投影技術的光點問題。更重要的是,專利中提及在電腦上加入投影裝置,就如上圖一樣。不過要何時才能看到這實際出現在Apple產品之上,就真的要問Steve Jobs才知道了。
來源:USPTO