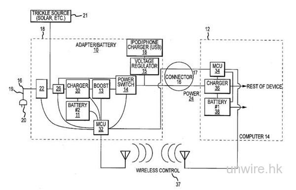
還記得在去年九月,Apple控告HyperMac的外置電池侵犯專利,過了一陣子,最近Apple申請了一個專利,是有關外置電池的。當然,能夠申請到專利的,肯定不會是什麼簡單的設計,從專利圖看來也頗複雜的樣子。
從專利圖看來,這個外置電池會是火牛和外置電池的合體,而且還能夠接駁其他的電源例如太陽能等等。這萬能電池會內置無線連接,在電腦上可以遙控監測狀態,也提供USB插口讓其他手提裝置如iPhone和iPad等等充電,的確是很方便,不過能做到這些功能的外置電池,市面上也有類似的。如果真正推出的話,也許上面的Apple logo才是最大賣點呢。
來源:AppleInsider
分享到 :
最新影片